EEHJ設備是我公司今年開發的新產品,在經過了大量的對比試驗,針對各類型的含油污水,優化各處理結構與功能,研制出一系列新型組合式除油裝置,可根據含油廢水的水質和處理要求的不同進行組合造型,達到最佳處理效果。該設備具有:功效高、適用面廣、能耗低、占地小、操作方便的特點。處理后的污水含油小于10mg/L,要求高的可分別小于0.5mg/L-0.2mg/L.
該設備應用于各種類型的含油廢水處理,并對COD重金屬離子也有較好的去除效果。本產品分A型和B型/A型設備每小時處理量有:5T/H-1000T/H;B型設備每小時處理量有1T/H-300T/H。同時可根據用戶要求另行設計定做。
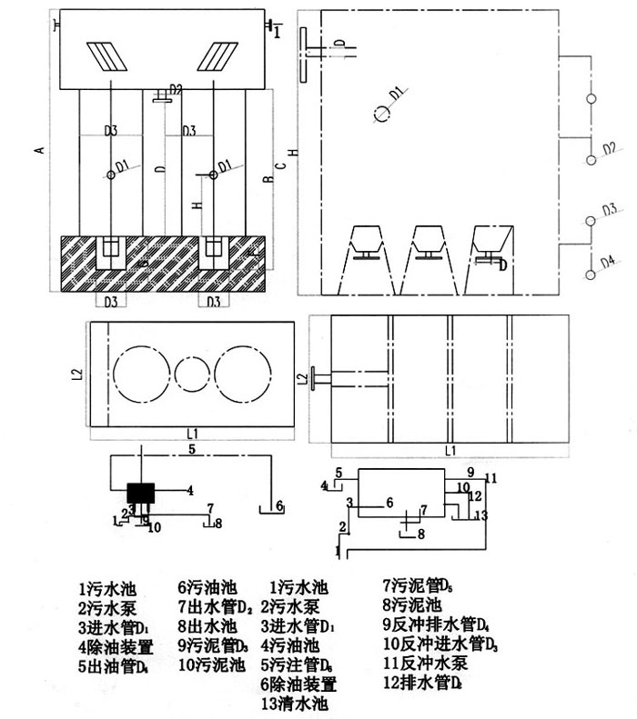
主要技術指標:
1、設備外形尺寸見上圖
2、出水水質:懸浮物含量SS:≥25mg/L,含油量:≤10mg/L
3、裝置配帶設備平臺及欄桿



